我们的服务
Our Service 提供专业设计,制作,售后服务集中解决方案
专注品质
严守标准,精湛工艺,确保卓越品质与可靠性能

用心服务
提供个性化定制,专业团队全程跟进,沟通无忧

精益求精
精研细节,持续优化设计与制造流程,追求卓越

售后保障
完善的售后体系,响应及时高效,全面保障后续需求
严守标准,精湛工艺,确保卓越品质与可靠性能
提供个性化定制,专业团队全程跟进,沟通无忧
精研细节,持续优化设计与制造流程,追求卓越
完善的售后体系,响应及时高效,全面保障后续需求
0万
设备投入
0 M²
厂房面积
0年
行业经验
0台
年生产力
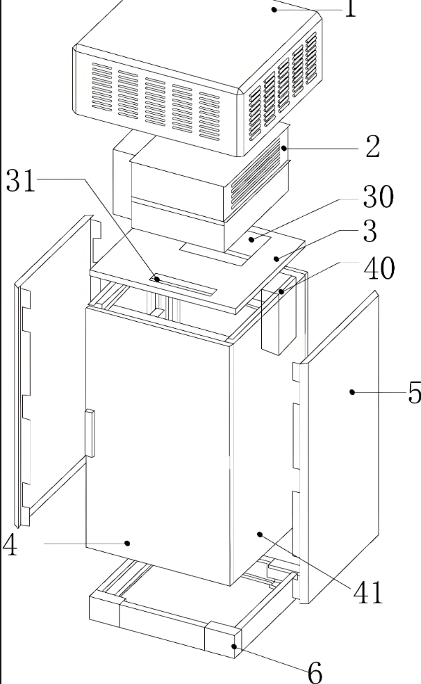
国家知识产权局信息显示,上海钺匠母公司——常熟中诚工具箱柜有限公司取得一项名为“一种柜体框架和板件的···
2021-03-26











手机扫一扫添加微信